1、Introduction:
Cummins engine (conforming to Ⅱ-stage emission regulations), powerful, energy efficient, reliable and durable; advanced negative flow hydraulic system, comfortable operation, high operating efficiency, excellent cost performance; full power control, four power modes to adapt to different work; reliable and accurate fuel injection system, real-time control of fuel injection, making combustion more complete, fuel efficiency; full 3D modeling and finite element analysis technology to ensure the reliability and stability of structural parts.
2.Characteristics:
Cummins new generation high-power engine with strong power, low fuel consumption and high reliability
New hydraulic system, large displacement main pump, large flow main valve, large flow area, small pressure loss, more reasonable flow distribution, better coordination and easier operation
Equipped with a large-bore oil cylinder, optimizing the arrangement of key hinge points, improving the digging force of the whole machine, setting an automatic supercharging function, and automatically increasing the digging force as the load increases; large displacement slewing motor and slewing gear design with large speed ratio Higher starting torque, better slewing braking effect
Aiming at the extremely harsh mining operation conditions, the heavy-duty reinforced boom, the mine-specific short stick and the large-capacity rock bucket are standard, and the extended and widened heavy-duty chassis is standard.
Equipped with high-resolution, high-brightness 5.7-inch color anti-glare monitoring instrument, intelligent electronic monitoring system, with vehicle maintenance information prompts, fault self-diagnosis and alarm and other functions;
3.Technical specification



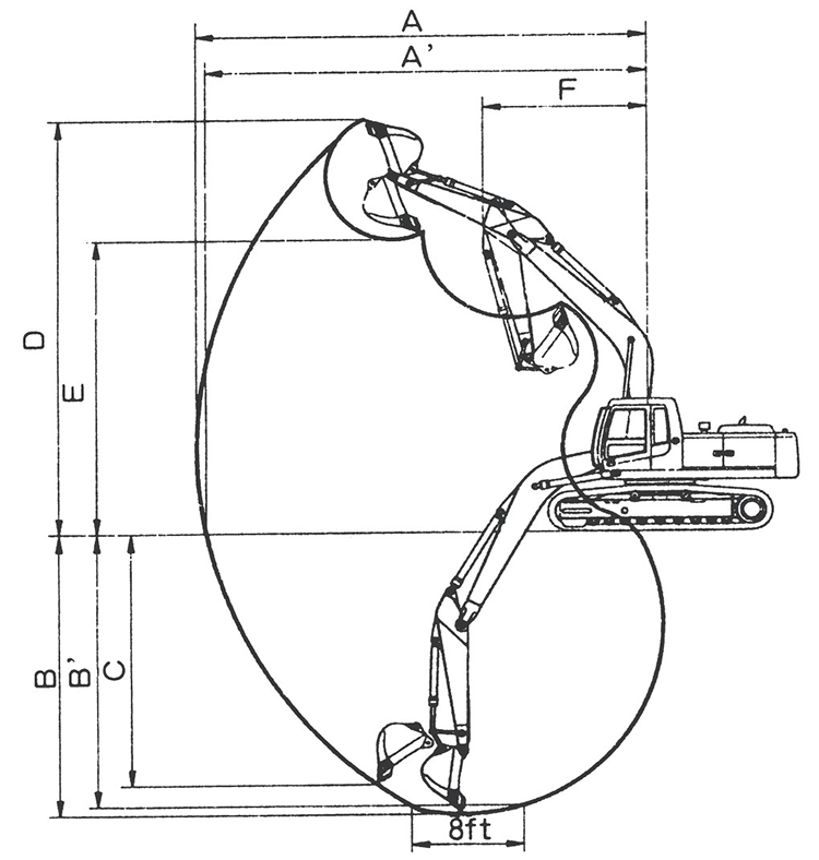
4. Working range

5.Engine specifications

6. 主要部件配置 Main configuration

Phone