1. Introduction:
Equipped with Cummins engine, strong power, high efficiency, energy saving, reliable and durable; advanced negative flow hydraulic system, comfortable operation, high operating efficiency, excellent cost performance; full power control, four power modes to adapt to different working conditions; stepper motor accurately controls the throttle , Significantly reduce fuel consumption; full 3D modeling and finite element analysis technology to ensure the reliability and stability of structural parts.
2. Characteristics:
Equipped with Cummins engine, high load resistance, high horsepower output, high reliability, low fuel consumption, significantly reduce the use and maintenance costs
Advanced negative flow hydraulic system is adopted, which has better system stability and reliability, faster compound action speed and higher operating efficiency.
High-strength reinforced box-type side beams and X-shaped middle frames, high-reliability towline wheels and track rollers, can withstand the impact caused by excessive loads.
Intelligent electronic monitoring system, real-time monitoring, self-diagnosing fault alarm, maintenance information prompt.
3、Overall Dimension

ITEM | UNIT | Specifications | |
JM3210-9C | |||
Operating weight | Kg | 21000 | |
Rated bucket capacity | m3 | 1.0 | |
Overall length | A | mm | 9520 |
Overall width(600mm track shoe) | B | mm | 2800 |
Overall height | C | mm | 3030 |
Trunable width | D | mm | 2700 |
Cabin height | E | mm | 2958 |
Groundclearance of counterweight | F | mm | 1025 |
Engine cover height | G | mm | 2338 |
Min. ground clearance | H | mm | 470 |
Tail length | I | mm | 280 |
Turning radius of turnable | I’ | mm | 2800 |
Wheel base of track shoe | J | mm | 3370 |
Chassis length | K | mm | 4160 |
Chassis width | L | mm | 2800 |
Track shoe gauge | M | mm | 2200 |
Standard track shoe width | N | mm | 600 |
Max. traction | KN | 204 | |
Travelling speed (H/L) | Km/hr | 5.8/3.3 | |
Swing speed | rpm | 13.9 | |
Gradeability | Degree(%) | 35(70%) | |
Ground pressure | Kgf/cm2 | 0.47 | |
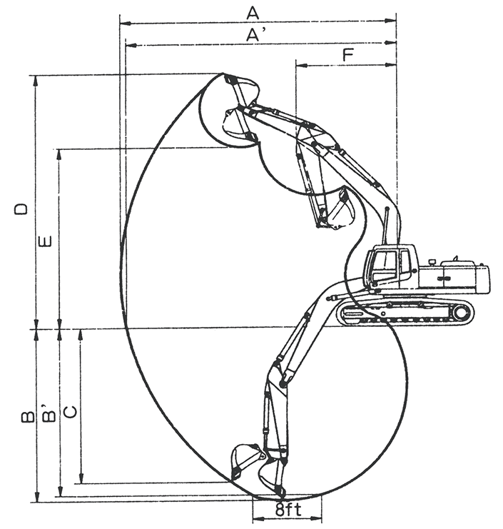
4、Working range

ITEM | 2.91m Stick (mm) | |
JM3210-9C | ||
Maximum digging radius | A | 9953 |
Ground maximum digging radius | A’ | 9794 |
Maximum digging depth | B | 6690 |
Ground maximum digging depth | B’ | 6505 |
Maximum vertical digging depth | C | 6104 |
Maximum digging height | D | 9642 |
Maximum dumping height | E | 6813 |
Min. front turning radius | F | 3560 |
Bucket digging force | ISO | 137 KN |
Stick digging force | ISO | 102 KN |
5. Engine specifications
Specifications | Model | Cummins 6B5.9-C150 | |
Type | 6-cylinder in-line, four-stroke turbocharger | ||
Emission | National Ⅱ | ||
Cooling method | Water cooled | ||
Bore diameter × stroke | mm | 102×120 | |
Displacement | L | 5.883 | |
Rated power | 112KW(150PS)@1950rpm | ||
Max. torque | N.m | 614N.m@1500rpm | |
Engine oil capacity | L | 24 | |
Rated diesel consumption | g/ps.hr(rpm) | 208g/ps.hr(1500rpm) | |
Starter | DENSO 24V/4.5KW | ||
Generator | DELCO 24SI 28V/70A |
6. Main configuration

Phone